Каталог запасных частей к технике: Lemken EuroGranat 7. Adjustment centre V-50/600

zoom-in zoom-out enlarge shrink circle-right circle-left file-text2 info cart arraw right arraw left zoom out zoom in arraw maximize arraw minimize
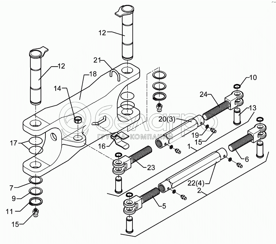
1
2
3
4
5
6
7
9
10
11
12
12
13
14
15
15
16
17
18
19
20
21
22
23
24
1
302 8737
Turnbuckle
В узле: 1
2
302 8745
Turnbuckle
В узле: 1
3
302 8905
Threaded sleeve
В узле: 1
4
302 8915
Threaded sleeve
В узле: 1
5
302 9000
Forkpiece
В узле: 1
6
302 9001
Forkpiece
В узле: 1
7
305 2150
Shim
В узле: 2
9
305 2255
Supporting washer
В узле: 4
10
305 8867
Securing ring
В узле: 4
11
305 8877
Securing ring
В узле: 2
12
313 5031
Pin with stop
В узле: 2
13
313 7802
Pin
В узле: 4
14
317 3417
Expansion bush
В узле: 1
15
323 6348
Grease nipple
В узле: 8
16
329 1792
U-spring
В узле: 1
17
375 1255
O-ring
В узле: 4
18
434 3150
Link
В узле: 1
19
305 6130
Washer
В узле: 4
20
302 8785
Threaded sleeve
В узле: 1
21
215 1588
Clamp
В узле: 1
22
302 8787
Threaded sleeve
В узле: 1
23
302 8998
Forkpiece
В узле: 1
24
302 8999
Forkpiece
В узле: 1
Содержащиеся в справочниках-каталогах запасные части и детали не предлагаются к продаже, а носят исключительно информационный характер

Ваша заявка была отправлена. В ближайшее время наши специалисты с Вами свяжутся по указанному Вами телефону.

Представьтесь
Поле обязательно для заполнения
Ваш телефон
Введите правильный номер телефона
E-mail
Введите правильный e-mail
Тема
Тема
применяемость финансирование доставка цена, наличие другое сервис и гарантия
Время для звонка
08:00
08:00 09:00 10:00 11:00 12:00 13:00 14:00 15:00 16:00 17:00 18:00 19:00
19:00
08:00 09:00 10:00 11:00 12:00 13:00 14:00 15:00 16:00 17:00 18:00 19:00

Мы постараемся перезвонить в указанное время

Если вы не хотите ждать, то звоните нашим вежливым консультантам:

8 800 100-2-700
Название
Представьтесь
Поле обязательно для заполнения
Ваш город
Ваш город
Ваш телефон
Введите правильный номер телефона
E-mail
Введите правильный e-mail
Сообщение
Вы можете приложить любые документы (например, список требуемых позиций)
Подтвердите, что вы не робот
Подтвердите, что вы не робот
Подтвердите, что вы не робот
Подтвердите, что вы не робот
Спасибо!

Ваше сообщение успешно отправлено!

ЗакрытьПовторить попытку